- НаличиеВ наличии
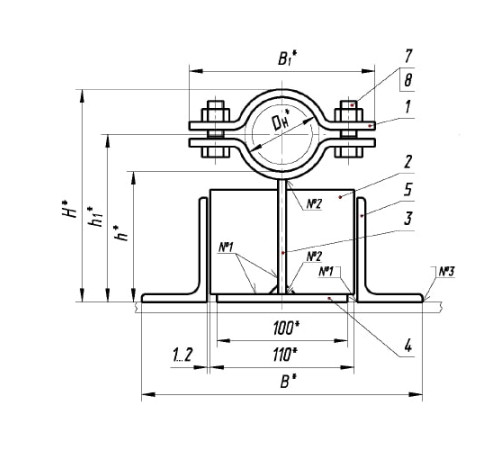
Опоры ТПР.08.17(2).00.000 предназначены для надежного крепления и поддержания трубопроводов различных систем. Они обеспечивают устойчивость и правильное положение трубы, компенсируя тепловые расширения и вибрационные нагрузки.
Использование данных опор значительно повышает срок службы трубопроводной сети, предотвращает провисы и деформации. Это ключевой элемент для безопасной и долговечной эксплуатации промышленных коммуникаций.
Изделия отличаются высоким качеством изготовления, прочностью и устойчивостью к коррозии. Мы предлагаем различные варианты исполнения (включая модификации от -01 до -05) для труб наружным диаметром (Dн) 57, 76 и 89 мм, с массой от 5,6 до 8,69 кг.
Выберите нужную марку и типоразмер для вашего проекта. Оформите заказ онлайн с безналичным расчетом и получите доставку по Лиде и всей Беларуси.
Нет отзывов об этом товаре.
Пока нет вопросов об этом товаре. Станьте первым!
