- НаличиеВ наличии
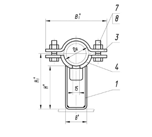
Опоры трубопроводные ТПР.04.01(2).00.000 предназначены для надежного крепления и поддержания стационарных трубопроводов различных систем. Они обеспечивают устойчивость и правильное позиционирование трубы, воспринимая вертикальные нагрузки и обеспечивая свободное перемещение при температурном расширении.
Использование качественных опор повышает срок службы трубопровода, снижает вибрацию и минимизирует риски аварийных ситуаций. Это ключевой элемент для обеспечения безопасной и долговечной эксплуатации промышленных коммуникаций.
Изделия отличаются высокими качественными характеристиками: прочностью, устойчивостью к коррозии и длительным сроком службы. Производство соответствует строгим стандартам и техническим условиям.
Мы предлагаем широкую вариативность выбора для труб различного наружного диаметра (Dн): от 57 до 720 мм, с массой от 4,79 до 78,44 кг. Доступны различные модификации марки, что позволяет подобрать оптимальное решение для любого проекта.
Нет отзывов об этом товаре.
Пока нет вопросов об этом товаре. Станьте первым!
